
由于智能手表功能与智能手机和手环重合,电池续航问题也一直都是用户对第一代苹果手表抱怨最集中的一个方面,因为这一代设备在正常使用18小时后就接近没电,如果重度使用的话则仅能坚持6.5小时左右。归其原因,苹果手表的续航体验以及实际使用的重要性并没有预期那么好。因此,苹果也在不断推陈出新。
据国外媒体报道称,美国专利商标局(US Patent and Trademark Office)日前批准了一项有关苹果手表的专利申请,该专利描述了一个内置电池模块的苹果手表表带,而这一表带未来将可以为设备提供额外的电量供应。

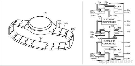
消息称,苹果所申请的这一专利名为“可穿戴电子设备的充电装置”(charging apparatus for wearable electronic device),该专利体现了一个内置电池的可穿戴设备,大概是新款苹果Apple Watch手表。曝光的专利图还显示,手表采用了圆形表盘设计,这是一个与以往苹果Apple Watch的通常矩形表盘所不同的形状。苹果的专利显示了手表带(103)内置的电池,以及一个圆形的表盘(101)。

据国外科技媒体Macrumors表示,提高苹果手表的电池续航时间可以让用户在无需充电的前提下连续使用多天,而这将给这一产品带来巨大的市场机会。比如,更长的电池续航时间将使得苹果可以在下一代WatchOS中加入睡眠监控功能,以及像普通手表一般的屏幕长亮功能。
外界分析认为,随着Android Wear 2.0以及LG、谷歌合作的两款手表预计将在本月发布,苹果手表的市场份额可能进一步下降。这主要是因为,虽然苹果手表目前可能是最畅销的智能手表,但它不一定是所有人的最佳选择。而且,由于来自三星、Garmin和诸如Fossil等传统钟表制造商的竞争加剧,苹果手表的出货量已经迎来了大幅下降。根据市场调研机构IDC的数据显示,苹果手表在2016年第三季度共售出110万部,较去年同期减少71.6%;市场份额也从去年同期的70%,掉到了41.3%,形成比较激烈的竞争态势,所以苹果能否推出更有优势的产品,已经迫在眉睫。
需要指出的是,苹果也申请了另一项有关表带的专利“模块化功能可穿戴设备腕带铰链”,主要描述了一项电子元件的模块化连接。即一些微型设备被内置到传统表链中,然后通过铰链的方式连接起来,并且之间还有柔性导电材料进行数据传输。具体思路是将相机、触摸屏和其他功能添加到表带上。智能手表的机身本来就较小,因此它们的保护套也很小。所以,苹果决定在表带上发挥创意,为表带添加更多功能。
苹果在该专利中提到的功能模块包括了电池、太阳能电池、发电机、摄像头、触觉输出设备、扬声器等。而Apple Watch将作为一个健康追踪的数据处理平台,同时包括任何类型的生物传感器也可以通过这种方式连接,包括血压监视器、温度计和汗水传感器。



与目前普通的Apple Watch采用了易拆卸的方式一样,这种每个功能模块都可以作为一个节点,共同组建Apple Watch的生态系统,而最后这些节点在连接到一起之后,通过Apple Watch的6针接口与智能手表连接。
通过串行链接起来后,这些节点共享同一个公共电源线和输出电机的电量,而模块的控制则通过唯一的标识符分配给每个链接。苹果在专利中举了一个例子,通过一系列的相关模块可以发送音频信号,而数据通过通信总线传送并且激活相应的标识符和匹配代码,而这种情况下扬声器模块就被成功添加。而其它模块同样可以扩展功能。
至于苹果是否打算将这一模块化Apple Watch表带推向市场还不清楚,不过这项专利未来如果实现,那么将成为一大亮点。
过去苹果的智能手表专利申请图,使用的都是类似Apple Watch的方形智能手表,但是这次的专利申请,则换用了圆形的智能手表,这极有可能就是苹果新款智能手表的新造型。



